【金山文档 | WPS云文档】 关于业主大会依法成立的公告_20250717
https://kdocs.cn/l/chd4H966QqPD
《关于业主大会依法成立的公告》及其三份附件(《管理规约》《业主大会议事规则》《首届业主委员会委员名单》),现总结如下:
一、业主大会成立情况
- 成立时间:2025年7月17日
- 会议时间:2025年4月7日至7月5日
- 会议形式:书面征求意见
- 地点:兰园、山湖院墅
- 通过事项:
- 《管理规约》
- 《业主大会议事规则》
- 选举产生首届业主委员会
- 成立依据:在街道、社区、住建部门指导下依法进行
- 筹备组职责已完成
二、《管理规约》核心要点
(1)适用范围和约束力
(2)物业基本信息
(3)物业管理与使用规则
包括但不限于:
- 电梯安全、空调安装、装修行为规范
- 垃圾分类、禁止违法搭建
- 消防设施使用、噪音控制
- 公共收益分配(主要用于维修资金)
(4)违约责任与权益限制
- 拒缴物业费或维修资金,或扰乱大会选举者,可限制其投票、收益权等业主管理权。
三、《业主大会议事规则》核心要点
(1)组织架构
- 业主大会:最高决策机构
- 业主委员会:执行机构,设11名委员
(2)决策事项
涉及:
- 修改规约、议事规则
- 选聘/解聘物业公司
- 使用公共收益、专项维修资金等
(3)表决机制
- 不设业主代表制,全部业主参与
- 投票方式灵活(书面、网络、快递等)
- 大额资金使用、重要事项需2/3或3/4业主同意
(4)业委会运作
- 按照小区实际情况内部制订
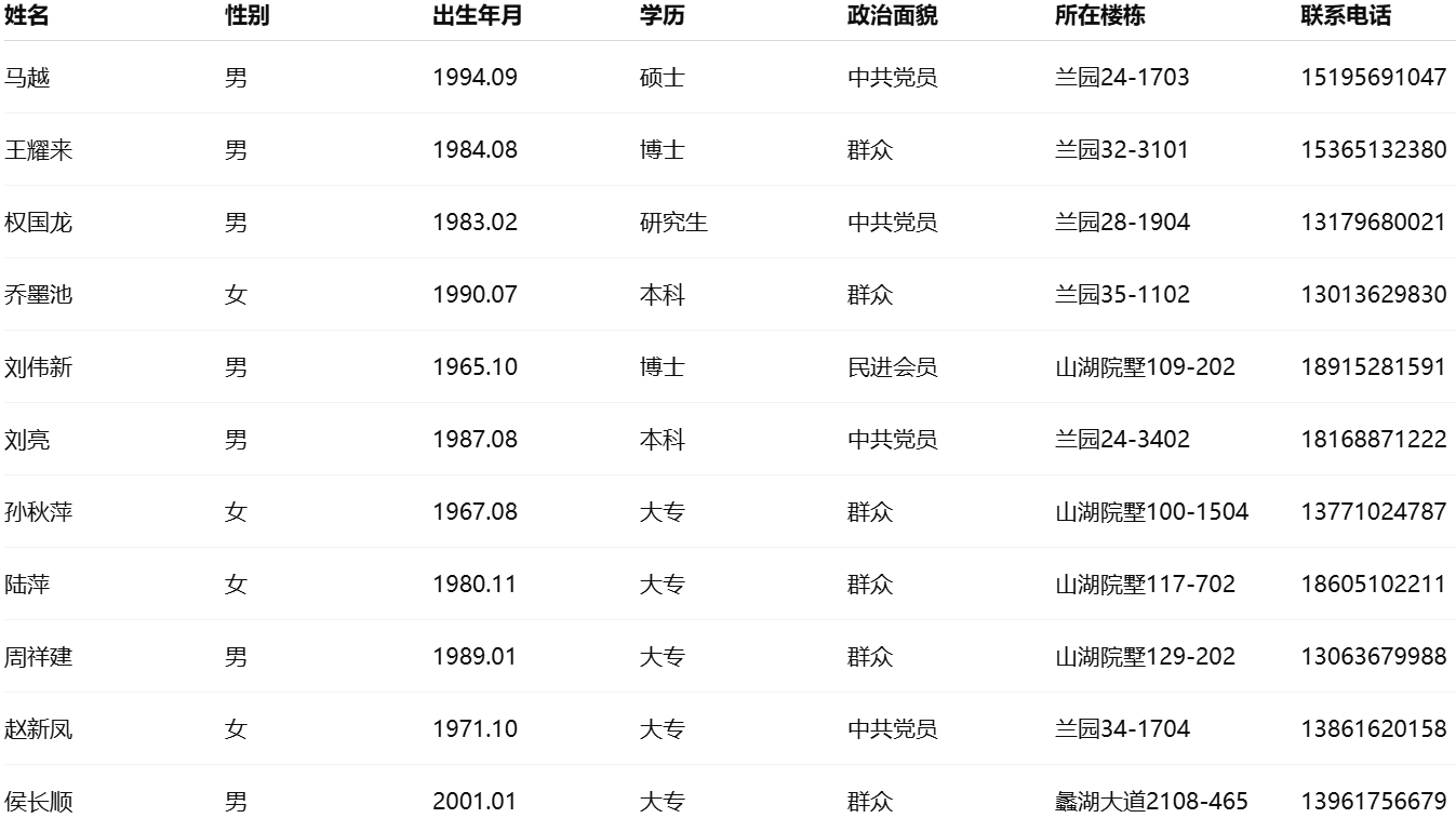
四、首届业主委员会组成(共11人)

